VXB

SSUCPAS209-28 Stainless Steel Base taraudée 1 3/4 Roulement monté

Prix régulier $1,422.99 Prix de vente$2,177.00vous économisez 754,01
SKU: Kit14868
UPC: 00193019216965
Item: SSUCPAS209-28 Bearing
Type: Stainless Steel Tapped Base Pillow Block Ball Bearing
Shaft Diameter: 1 3/4" inch
Bolt Size: 1/2" inch
Bearing No: SUC209-28
Cet article sera expédié dans un délai d'une semaine
Les retours sont soumis à des frais de restockage de 15 %.


SSUCPAS209-28 Stainless Steel Tapped Base Pillow Block Unit
Set Screw Locking
1 3/4" Inner Diameter
Ball Bearing



SSUCPAS209-28 Stainless Steel Tapped Base Pillow Block Ball Bearing, SSUCPAS209-28 is Set Screw Locking, bearing has solid base housing construction, bearing has wide inner ring, bearing is relubricatable unit with anti-rotation pin, bearing has supplied with water and wash resistant mobilgrease.

  • SSUCPAS209-28 Roulement
  • Roulement à billes à palier lisse à base taraudée Stainless Steel
  • Diameter: l'arbre Diameter: 1 3/4" inch
  • Size: boulon Size: 1/2" inch
  • No: roulement No: SUC209-28
  • No: boîtier No: SPAS-209-HT
  • Quantity: 1 palier
  • Roulement à billes


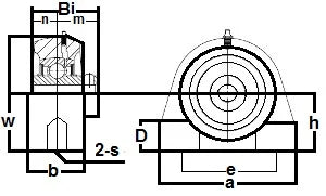
Dimensions inches
h a e b S UNC w D Bi n m
2-1/8" 5" 3-3/4" 2" 1/2-13 4-1/4" 3/4" 1-15/16" 3/4" 1-3/16"