VXB

SSUCPAS207-20 Tapped Base Pillow Block 1-1/4" Mounted Bearing

Prix régulier $696.99 Prix de vente$1,066.00vous économisez 369,01
SKU: Kit14860
UPC: 00193019216880
Item: SSUCPAS207-20 Bearing
Type: Stainless Steel Tapped Base Pillow Block Ball Bearing
Shaft Diameter: 1 1/4" inch
Bolt Size: 1/2" inch
Bearing No: SUC207-20
Cet article sera expédié dans un délai d'une semaine
Les retours sont soumis à des frais de restockage de 15 %.


SSUCPAS207-20 Stainless Steel Tapped Base Pillow Block
Set Screw Locking
1 1/4" Inner Diameter
Ball Bearing



SSUCPAS207-20 Stainless Steel Tapped Base Pillow Block Ball Bearing, SSUCPAS207-20 is Set Screw Locking, bearing has solid base housing construction, bearing has wide inner ring, bearing is relubricatable unit with anti-rotation pin, bearing has supplied with water and wash resistant mobilgrease.

  • SSUCPAS207-20 Bearing
  • Roulement à billes à palier lisse à base taraudée Stainless Steel
  • Diameter: l'arbre Diameter: 1 1/4" inch
  • Size: boulon Size: 1/2" inch
  • No: roulement No: SUC207-20
  • No: boîtier No: SPAS-207-HT
  • Quantity: 1 palier
  • Roulement à billes


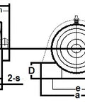
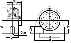
Dimensions inches
h a e b s1 s2 g w Bi n
1-7/8" 4-1/4" 3-1/4" 1-57/64" 1/2-13 3-3/4" 3/4" 1-11/16" 11/16" 1"