NB
LME162636 ベアリング16mm ボール ブッシングLinear Motion ベアリング
タイトル
通常価格
$39.99
セール価格$80.0040.01ドルお得
SKU: LME162636
UPC: 00193019129944
UPC: 00193019129944
Item: LME162636 NB Bearing
Type: Linear Ball Bushing
Shaft Diameter: 16mm
Number Of Ball Circuits: 4
Quantity: One Bearing
Type: Linear Ball Bushing
Shaft Diameter: 16mm
Number Of Ball Circuits: 4
Quantity: One Bearing
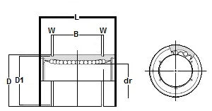
| LME162636 NB 標準タイプ:スライドユニット 日本製NB リニアシステムズ |
LME162636 NB 標準タイプベアリング、inner diameter 16mm、主に米国で使用されているSeries 、NB ブランドNippon Bearing リニアシステム)、日本製。
|
| Major Dimensions | |||||||||
|---|---|---|---|---|---|---|---|---|---|
| dr | dr | D | B | L | D1 | ||||
| mm | tolerance | mm | tolerance | mm | mm | tolerance | |||
| 16 | 9-1 | 26 | 0-9 | 36 | 24.9 |
0-0.2 |
1.3 | 24.9 | |