NB
SM16-P 16mm Slide Bush Ball Linear Miniature Motion Bearing
Titolo
Prezzo normale
$49.99
Prezzo di vendita$100.00risparmiate $50,01
SKU: Kit19695
UPC: 00193019112977
UPC: 00193019112977
Item: SM16-P Bearing
Type: Linear Miniature Slide Bush
Accuracy Grade: Precision
Number of Ball Circuits: 4
Quantity: One Bearing
Type: Linear Miniature Slide Bush
Accuracy Grade: Precision
Number of Ball Circuits: 4
Quantity: One Bearing
| SM16-P Miniature Slide Bush Made in Japan:NB Linear Systems Nippon Bearing Miniature Linear Systems |
16mm Miniature Linear Slide Bush, bearing is a Precision accuracy grade Miniature linear bushings,series mainly used in the USA, NB brand (Nippon Bearing Linear Systems), made in Japan.
|
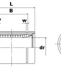
| Major dimensions | Eccentricità | Gioco Radial | |||||||||||
|---|---|---|---|---|---|---|---|---|---|---|---|---|---|
| dr | D | L | B | W | D1 | Precisione | Alto | ||||||
| mm | tolerance | mm | tolerance | mm | tolerance | mm | tolerance | ||||||
| precisione | alto | ||||||||||||
| 16 | 0-6 | 0-9 | 28 | 0-13 | 37 | 0-0.2 | 26.5 | 0-0.2 | 1.6 | 27 | 8 | 12 | -4 |
Condividi