NB
SM10G-P 10mm Slide Bush Ball Linear Miniature Motion Bearing
Titolo
Prezzo normale
$39.99
Prezzo di vendita$80.00risparmiate 40,01 dollari
SKU: Kit19733
UPC: 00193019113332
UPC: 00193019113332
Item: SM10G-P Bearing
Type: Linear Slide Bush
Retainer Material: Resin
Accuracy Grade: Precision
Number of Ball Circuits: 4
Type: Linear Slide Bush
Retainer Material: Resin
Accuracy Grade: Precision
Number of Ball Circuits: 4
| SM10G-P Bussola di scorrimento Made in JapanNB Linear Systems NipponNippon Bearing Linear Systems |
BoccolaLinear Slide 10mm , il Retainer material è resina, il cuscinetto è una boccola lineare del grado di precisioneseries utilizzata principalmente negli Stati Uniti, marca NBNippon Bearing sistemi lineariNippon Bearing ), prodotta in Giappone.
|
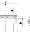
| Major Dimensions | Eccentricità | gioco radial | |||||||||||
|---|---|---|---|---|---|---|---|---|---|---|---|---|---|
| dr | D | L | B | W | D1 | Precisione | Alto | ||||||
| mm | tolerance | mm | tolerance | mm | tolerance | mm | tolerance | ||||||
| precisione | alto | ||||||||||||
| 10 | 0-6 | 0-9 | 19 | 0-13 | 29 | 0-0.2 | 22 | 0-0.2 | 1.3 | 18 | 8 | 12 | -4 |
Condividi