VXB

17mm Base Rosqueada Pillow Block17mm Rolamento Montado

Preço normal $313.99 Preço de venda$480.00você economiza US$ 166,01
SKU: Kit14850
UPC: 00193019216781
Item: SSUCPAS203-17mm Bearing
Type: Stainless Steel Tapped Base Pillow Block Ball Bearing
Shaft Diameter: 17mm
Bolt Size: 3/8" Inch
Bearing No: SUC203-17
Este item será enviado dentro de uma semana
Devoluções sujeitas a 15% de taxa de reabastecimento


SSUCPAS203-17mm Stainless Steel Tapped Base Pillow Block
17mm Inner Diameter
Set Screw Locking
Ball Bearing


SSUCPAS203-17mm Stainless Steel Tapped Base Pillow Block Ball Bearing, SSUCPAS203-17mm is Set Screw Locking, bearing has solid base housing construction, bearing has wide inner ring, bearing is relubricatable unit with anti-rotation pin, bearing has supplied with water and wash resistant mobilgrease.

  • SSUCPAS203-17mm Bearing
  • Rolamento de esferas de bloco de descanso com base roscada Stainless Steel
  • Diameter: do eixo Diameter: 17mm
  • Size: parafuso Size: 3/8" Inch
  • Bearing No: SUC203-17
  • No: da caixa No: SPAS-204-HT
  • Quantity: 1 rolamento
  • Rolamento de esferas


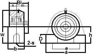
Dimensions Inches)
h a e b S UNC w D Bi n m
33.3 73 50.8 38 3-8/16 65 13 31 12.7 18.3