VXB

SSUCPAS201-8 Rolamento montado em bloco de descanso com base roscada e furo de 1/2 pol.

Preço normal $331.99 Preço de venda$508.00você economiza $176,01
SKU: Kit14844
UPC: 00193019216729
Item: SSUCPAS201-8 Bearing
Type: Stainless Steel Tapped Base Pillow Block Ball Bearing
Shaft Diameter: 1/2" inch
Bolt Size: 3/8" inch
Bearing No: SUC201-8
Este item será enviado dentro de uma semana
Devoluções sujeitas a 15% de taxa de reabastecimento


SSUCPAS201-8 Rolamento de esferas de bloco de descanso com base rosqueada Stainless Steel
Parafuso de fixação com trava
Inner Diameter 1/2 pol inch



SSUCPAS201-8 Rolamento de esferas de bloco de descanso com base roscada Stainless Steel , SSUCPAS201-8 é travado por parafuso de ajuste, o rolamento tem uma construção de carcaça de base sólida, o rolamento tem um anel interno largo, o rolamento é uma unidade relubrificável com pino antirrotação, o rolamento é fornecido com graxa móvel resistente à água e à lavagem.

  • Rolamento SSUCPAS201-8
  • Rolamento de esferas de bloco de descanso com base roscada Stainless Steel
  • Diameter: do eixo Diameter: 1/2" inch
  • Size: parafuso Size: 3/8" inch
  • No: rolamento No: SUC201-8
  • No: da caixa No: SPAS-204-HT
  • Quantity: 1 rolamento


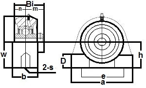
Dimensions inches)
h a e b S UNC w D Bi n m
1-5/16" 2-7/8" 2" 1-1/2" 3/8-16 2-9/16" 33/64" 1.22" 1/2" 0.72"