NB

KBS25G NB Bearing 25mm Ball Bushings Linear Motion Bearing

Regular price $70.00 Sale price$140.00you save $70.00
SKU: KBS25G_NB
UPC: 00193019109069
Item: KBS25G NB Bearing
Type: Linear Ball Bushing
Shaft Diameter: 25mm
Number Of Ball Circuits: 6
Quantity: One Bearing
KBS25G NB Standard Type:Slide Unit
Made in Japan:NB Linear Systems


KBS25G NB Standard Type Bearing, measures an inner diameter of 25mm, bearing is anticorrosion, retain material is resin, Series mainly used in the USA, NB brand (Nippon Bearing Linear Systems), made in Japan.

  • KBS25G NB Bearing
  • Linear Ball Bushing
  • Shaft Diameter: 25mm
  • Number Of Ball Circuits: 6
  • Quantity: 1 Bearing
  • Dynamic load rating Cr: 980 N
  • Static load rating Cor: 1570 N


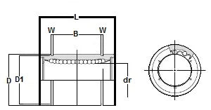
Major Dimensions
dr D L B W D1
mm tolerance mm tolerance mm tolerance mm tolerance
25 11-1 40 0-11 58 0-0.3 44.1 0-0.3 1.85 37.5