NB

KB25 NB Bearing 25mm Ball Bushings Linear Motion Bearing

Regular price $65.00 Sale price$130.00you save $65.00
SKU: KB25_NB
UPC: 00193019107089
Item: KB25 NB Bearing
Type: Linear Ball Bushing
Shaft Diameter: 25mm
Number Of Ball Circuits: 5
Quantity: One Bearing
KB25 NB Standard Type:Slide Unit
Made in Japan:NB Linear Systems


KB25 NB Standard Type Bearing, measures an inner diameter of 25mm, Series mainly used in the USA, NB brand (Nippon Bearing Linear Systems), made in Japan.

  • KB25 NB Bearing
  • Linear Ball Bushing
  • Shaft Diameter: 25mm
  • Number Of Ball Circuits: 5
  • Quantity: 1 Bearing
  • Dynamic load rating Cr: 980 N
  • Static load rating Cor: 1570 N


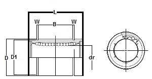
Major Dimensions
dr D L B W D1
mm tolerance mm tolerance mm tolerance mm tolerance
25 11-1 40 0-11 58 0-0.3 44.1 0-0.3 1.85 37.5